介休农商银行 | 向关停企业贷款,审核是否流于形式?新任董事长、总经理持股超过2%监管要求,从合规转向不合规

山西介休农村商业银行股份有限公司(以下简称介休农商银行),前身为介休市农村信用合作联社。2014年12月27日,介休农商银行正式挂牌成立。目前介休农商银行有32家支行,实缴资本11亿元。
2023年4月14日,介休农商银行时任董事长刘俊离任,闫绍勋成为新任董事长,企业法人。同时,新聘总经理郭庭汪。
图片
01

向关停企业放款,贷款审核或流于形式

介休市人民政府官网显示,2018724日,介休市国土局召开石灰岩企业座谈会,提到了当地政府为了保护环境,需要关闭24家石灰岩企业,关闭的石灰岩企业可以得到公正合理的补偿。

201934日,介休市人民政府召开【2019】第5次市长办公会,专题研究解决我市政策性关闭石灰岩企业涉及农商行信贷问题有关事宜。时任介休农商银行董事长武栋先生参加了该次会议。

201941日,介休农商银行作出《关于请求介休市政府给予石灰岩企业在介休农商行贷款贴息的请示》(介农商字【201951号文)。文件载明:因政策性原因介休市政府相关部门对介休市24家石灰岩企业予以关闭。在文件附属的《石灰岩企业在介休农商行关联贷款明细表(汇总)》中,就有山西安泰通元建筑有限公司(以下简称安泰通元公司)201865日至2019517日贷款2175万元。201943日,安泰通元公司收到了介休市自然资源局代发的贴息款4785000元。

2019年8月15日,介休市召开关闭石灰岩企业补偿工作推进会,自然资源局局长甄永亮宣读了《介休市24家石灰岩企业关闭补偿推进工作方案》,牵头做好关闭补偿协议的签订工作;市财政局在关闭补偿协议通过补偿后,于5个工作日之内完成资金拨付工作;国资委在补偿款拨付后,一周内对关闭石灰岩企业的生产设施、设备进行处置。

图片

但是,2021311日,介休农商银行与安泰通元建材有限公司签订《流动资金贷款合同》。合同约定,安泰通元公司向介休农商行借款953万元。介休市鑫旺德煤化有限公司对安泰通元公司还款承担全额担保,介休农商行向安泰通元公司放款。

2021年10月22日,因安泰通元公司没有偿还953万元的贷款,介休农商银行与担保公司介休市鑫旺德煤化有限公司第二次对簿公堂。法院后续判决结果没有对外公布。

图片

企查查显示,介休安泰通元公司企业法人、实际控制人为王光亮。王光亮持股90%,山西安泰控股集团有限公司持股10%。同时, 截止2022年6月,王光亮还是介休农商银行的股东, 持股0.3636%。山西安泰控股集团有限公司为介休农商银行第三大股东,持股3.3947%,同时也是安泰通元建材股东,持股10%。

图片

2018年6月21日至2020年7月14日,介休农商银行董事长为武俊,知晓当地政府关闭石灰岩企业的政策。2020年7月14日至2023年4月13日,介休农商银行董事长为刘俊。

2019年安泰通元公司开始停产,2021年介休农商银行还向其贷款。介休农商银行有没有做好了尽调,认真核实了安泰通元公司实际情况?贷款审核是否流于形式?这需要他们自证清白。

图片
02

近期因多项违规,被罚100万

2023年7月25日,介休农商银行因贷款集中度超比例、违规掩盖不良贷款、违规核销不良贷款,被国家金融监督管理总局晋中监管分局监管罚款100万元;同时,张华、王静滔、王国恒、张静四人被警告。

违规掩盖不良贷款、违规核销不良贷款,一是跟贷款前期审核不严,源头上没有把好关;二是公司内部治理存在问题,相关人员原则性不强,违规操作导致。

2020年11月19日,介休农商银行被中国人民银行晋中市中心支行罚款24.3万元,违法事实为:1、未按规定识别客户身份;2、对外支付票币质量不符合要求; 3、假币收缴操作程序不规范。

图片

图片
03

董事长、总经理等多名自然人股东

持股超过2%监管要求

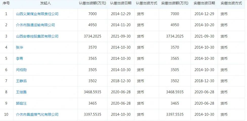
介休农商银行2020年度同业存单发行公告显示,前十大股东里面有5家法人,5位自然人股东。自然人持股均没有超过2%,其中,任天龙、王青蓉持股2%,梁红俊持股1.91%,闫海潮持股1.82%,杨希辰1.82%。

图片

介休农商银行2022年度报告显示,多名自然人股东持股均超过了2%。张华实缴3570万元,持股比例为3.2455%,为第四大股东;李青实缴3565万元,持股3.2409%,为第五大股东, 同时为山西孝义农商行监事;闫绍勋为新任董事长,实缴3505万元,持股3.1864%,为第6大股东;王静滔实缴3502万元,持股3.1864%,为第七大股东,同时为山西娄烦农商行董事;王继鹏实缴3467.5935万元,持股3.1533%,为第八大股东,同时为山西榆社农商行董事;郭庭汪为新任总经理,实缴3465万,持股3.15%,为第九大股东。

《中国银保监会农村中小银行机构行政许可事项实施办法》2019年第9号第十条指出,单个自然人及其近亲属合计投资入股比例不得超过农村商业银行股本总额的2%。

近年来,国家对农村商业银行监管越来越完善,对股东要求越来越具体规范。一些不合规的农商行频频受到监管部门处罚,一些农商银行股东持股比例由不合规整改为合规。

请问介休农商银行闫绍勋董事长、郭庭汪总经理,你们个人持股超过监管要求的2%,6名自然人股东持股超过2%的监管要求,介休农商银行股东由合规到不合规,是怎么考虑的?

图片

图片
04

董事长、总经理等多名自然人股东

持股超过2%监管要求

山西银保监局发布的关于2023年第一季度全省银行业消费投诉情况的通报显示,山西银保监局及辖内各分局共接收并转送银行业消费投诉1129件,涉及农村合作金融机构150件,占投诉总量的13.29%,包括农村商业银行132件,占投诉总量的11.69%,农村信用社18件,占投诉总量的1.59%

农村合作金融机构消费投诉量较多有尧都农商行、太原农商行、大同农商行、忻州农商行、浑源农商行、河曲农商行、介休农商行、运城农商行以及阳高农信社。介休农商行投诉量为4件,占比2.67%;每营业网点投诉量为0.11/营业网点;平均每百万个人客户投诉量情况为8.19/百万个人客户。

滚动至顶部